文景大桥设计毕业论文
2020-04-13 11:08:58
摘 要
本次设计为文景大桥设计计算,先提前做出三个方案进行比选,由经济、安全、适用、美观的原则,选择预应力混凝土连续梁桥作为最终选择的桥型。截面采用等直线变截面单箱单室预应力箱梁,施工方法采用满堂支架法,一次成桥。
设计内容为内力计算。采用的软件时使用的是迈达斯软件,通过定义截面,添加收缩徐变条件,添加支座,添加不同的恒载如自重、铺装层重量等以及移动荷载如车道荷载、人群荷载等,再添加合理的钢筋后进行内力计算得出每个截面的内力图和特殊截面的内力数值表。
关键词:预应力混凝土;连续梁;单箱单室箱梁;内力数值表。
Abstract
The design for embraced bridge design calculation, to make the three schemes comparison, by the principle of economy, safe, applicable, beautiful, prestressed concrete continuous girder bridge is chosen as the final choice of bridge. The section adopts the uniform linear variable section single box single chamber prestressed box girder, the construction method USES the full hall support method, the primary bridge.
The design content is internal force calculation. Using software using Midas software, by defining the cross section, add the shrinkage and creep condition, adding support, add different constant load such as gravity, pavement weight lane and moving load such as load, load, etc., to add reasonable reinforced after the draw internal force calculation in each section of the map and special section internal force value table.
Key Words: Prestressed concrete,Continuous beam, Single box single room box girder, Internal force table.
目录
第一章 绪论 1
1.1预应力混凝土连续梁桥概述 1
1.2设计采用标准 1
1.3桥梁设计过程中的主要材料 2
1.4 规范和技术标准 2
第二章 方案比选 3
2.1预应力混凝土连续梁桥 3
2.2斜拉桥 4
2.3预应力混凝土连续钢构桥 5
第3章 桥梁总体布置 8
3.1桥孔布置 8
3.2截面 9
3.3桥梁下部结构 9
3.4主要材料 9
第四章 Midas模型的建立 10
4.1单元节点的建立 10
4.2截面的特性 10
4.3边界条件的确定 11
4.4收缩与徐变的添加 11
第五章 荷载的计算与添加 12
5.1自重荷载 12
5.2 铺装层荷载 13
5.3移动荷载 13
第六章 钢筋计算 16
6.1钢筋添加要点 16
6.2钢筋的特性和计算 16
6.3钢筋的添加与布置 22
第七章 荷载组合 23
7.1 基本(承载能力极限状态下)荷载组合 23
7.2频遇值(短期)荷载组合 24
7.3长期(永久)荷载组合 25
第八章 验算表格 26
第九章 结论 51
参考文献 52
致谢 53
绪论
1.1预应力混凝土连续梁桥概述
预应力混凝土连续梁桥有着许多特点,比如它由于支点负弯矩的存在,可以使得跨中正弯矩的峰值大大降低,可无形之中增加了它的水平跨越能力。同时它的连续梁结构体系刚度很大,能保持较平缓的路面曲线,使得行人在行驶道路上能够有平适的感觉。一般的混凝土连续梁桥,当它的跨径达到100m以上的时候,由于恒载弯矩和活载弯矩的增大,就需要一定的预应力筋来进行加持才能够保证截面的各个方面承载能力性能。而对于预应力混凝土连续梁桥来说,达到一定跨径后,就需要用箱梁作为它的截面形式,且由于正负弯矩同时存在的缘故,一般情况下的截面都是采用对称的形式来满足它的弯矩要求等等。正是因为有这些优点,使得我国相当一部分的桥梁都是采用这种方式进行建造,促进了我国桥梁事业的发展。
1.2设计采用标准
(1)桥型设计所需的桥型布置图一份
(2)道路等级:公路I级
(3)桥面宽度:桥面全宽18m,宽度不变
(4)荷载等级:路面设计标准轴载:BZZ-100;桥梁设计荷载等级:公路-Ⅰ级;人群荷载:3.0KN/m2
(5)通航等级及净高和水位:等级为通航二级,通航净高为22m,20年一遇的最高水位为14.27m
(6)设计洪水频率:1/300,设计水位18.23m
(7)桥面铺装:桥面铺装采用的是C50找平层,其底部为6cm,中部为13cm,以及2cm强度为C50的沥青混凝土
(8)桥梁设计基准年:100年
1.3桥梁设计过程中的主要材料
(1)混凝土:主梁采用C50的混凝土,桥墩采用C40的混凝土,查阅JTG04规范有,C50混凝土弹性模量3.45e 0.07KN/,阻尼比为0.05
(2)预应力钢绞线采用的是JTG04(S)规范下的Strand1860,材料属于各向同性,弹性模量为1.95e 0.08KN/,阻尼比为0.3,线膨胀系数为1.20e-0.05每C,容重为78.5KN/,使用质量密度为8KN。
1.4 规范和技术标准
(1)《公路工程技术标准》(JTGB01-2003)
(2)《公路工程地质勘察规范》(JTJ 064-98)
(3)《城市桥梁设计规范》(CJJ 11-2011)
(4)《公路钢筋混凝土及预应力混凝土桥涵设计规范》(JTGD62-2004)
(5)《公路桥梁施工技术规范》(JTG/T F50-2011)
(6)《公路交通安全设施设计技术规范》(JTG D81-2006)
(7)《公路桥涵设计通用规范》(JTJD60-2004)
(8)《公路桥涵地基与基础设计规范》(JTG D63-2007)
方案比选
葛麻湾大桥引桥跨江段桩号为K39 591至K39 938,跨径为347m,其中设计荷载为公路I级荷载。桥面宽度由实际设计决定。
根据在网上和书本上的设计资料和设计技术标准,综合考虑了目前的我国实际的建桥相对水平,从总体到局部的布置、环境的相对协调性、技术手段、施工上是否可行、是否达到景观的要求以及经济上是否合理等多个方面进行考虑后,按照“适用、经济、安全、美观”的桥梁设计原则,初步拟定出了以下三种桥型方案。
(1) 90 160 90m的预应力混凝土连续梁桥
(2) 150 190m的斜拉桥
(3) 85 170 85m的预应力混凝土连续刚构桥
2.1预应力混凝土连续梁桥:
(1)桥型特点
伸缩缝较少,动力性能较好,主梁的变形挠曲线平缓,行车通畅,安全,可满足交通运输要求,且施工要求相对比较简单,但相应的工期长,整体性好,刚度大,可保证工程本身安全,需要的机具少,不需要大型设备,可以充分降低施工成本,所用材料普通,价格低,成桥后它的养护费用也少,但需要较多预应力钢筋,基础施工相对比较复杂。
(2)尺寸介绍
①桥跨布置
采用三跨连续梁桥,跨径为90m 160m 90m,边跨比为0.5625,总跨径为340m,总体布置如下。

图2.1.1 预应力混凝土连续梁桥的平面图
查询规范可以得出支点的截面梁高与跨径的比值为1/16~1/20,且主跨的跨径为160m,可取梁高为8m,跨中的截面梁高与跨径的比值为1/50~1/60,取梁的高度为6m,在本次设计中梁底面按直线变化,桥面的宽度:2m(人行道) 0.5m(内侧护栏) 15m(行车道) 0.5m(外侧护栏)。
②截面尺寸图


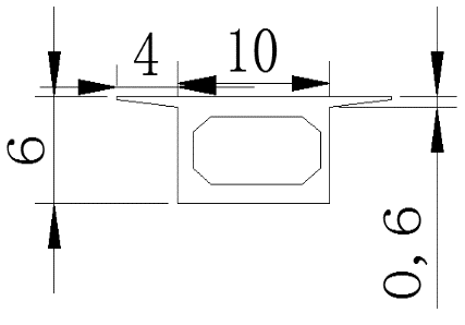
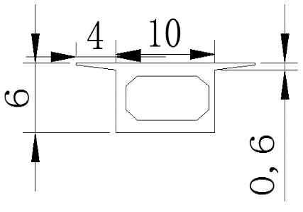
图2.1.2跨中截面单箱单室图 图2.1.3支点截面单箱单室图
对于跨中截面,它的顶板为18m,截面梁高为8m,翼缘板高度为0.8m,对于支点截面,顶板宽度不变,截面梁高为6m,翼缘板宽度为0.6m,其中查询规范空心板的坡度采用3:4。
(3)施工方法
采用满堂支架法进行施工,在施工过程中不分施工段,进行一次成桥施工。
2.2斜拉桥
(1)桥型特点
跨越能力大,行车性能好,不需要大量的基础工程,且由于梁高小,便于采用悬臂施工,不会影响建造过程时的通航,若时间比较赶时,梁还可以预制,以达到缩短施工工期的目的,但由于拉索本身是柔性体系,会受到风力作用的影响,安全性能相对较低,横向刚度较小,高空作业较多,成桥后养护费用高,基础施工非常复杂,并需安装减震装置,相对要求比较严苛。但从外观上来看现代感较强,比例均匀、协调。
(2)尺寸介绍
①桥跨布置
采用单塔双跨斜拉桥,跨径为150m 190m,悬索采用25根,左侧间距为4.8m,右侧间距为6m,总体布置图如下。

以上是毕业论文大纲或资料介绍,该课题完整毕业论文、开题报告、任务书、程序设计、图纸设计等资料请添加微信获取,微信号:bysjorg。
相关图片展示:







课题毕业论文、开题报告、任务书、外文翻译、程序设计、图纸设计等资料可联系客服协助查找。
