2×5000 m3甲醇储罐的安全设计及安全评价毕业论文
2020-04-15 20:41:11
摘 要
论文结合甲醇的理化性质及危险特性,对两个5000 m3的甲醇储罐进行设计,研究储罐的选型、选材和规格,计算储罐的强度。研究甲醇罐区的总平面布局,包括防火间距和防火堤设计。设计泡沫灭火系统、喷淋水系统等甲醇罐区的消防安全设施。利用安全检查表,事故树分析法和道化学法对甲醇储罐进行危险有害因素辨识,并提出安全对策措施。
关键词:甲醇储罐 安全设计 危险有害因素辨识 安全评价
Safety Design and Safety Evaluation of 2×5000 m3 Methanol Storage Tank
Abstract
Combining the physical and chemical properties and hazardous properties of methanol, this paper designs two 5000 m3 methanol storage tanks, studies the selection, material selection and specifications of the storage tanks, and calculates the strength of the storage tanks. The general layout of the methanol tank area is studied, including fire spacing and fire dam design. Fire safety facilities in methanol tank areas are designed, such as foam fire extinguishing systems and spray water systems. Safety checklists, accident tree analysis and road chemical methods are used to identify dangerous hazardous factors in methanol storage tanks, and propose safety measures.
Key Words: Methanol storage tank; Safety design; Identification of dangerous and harmful factors; Safety assessment
目录
第一章 概述 1
1.1 甲醇的性质及用途 1
1.2 设计内容 2
1.2.1 设计背景 2
1.2.2 甲醇储罐的基本设计 2
1.2.3 甲醇罐区总平面布置及消防设计 2
1.2.4 甲醇罐区安全评价 2
第二章 甲醇储罐的设计 4
2.1 甲醇储罐的选型和选材 4
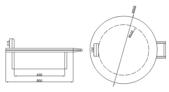
2.2 储罐的规格和强度计算 5
2.2.1 甲醇储罐的规格 5
2.2.2 甲醇储罐的强度计算 7
2.3 安全附件的设计 8
2.3.1 通气孔 8
2.3.2 人孔 9
2.3.3 盘梯 9
第三章 甲醇罐区总平面布置 11
3.1 甲醇罐区防火间距 11
3.1.1 罐区与周围设施的安全距离 11
3.1.2 罐区建筑物之间的防火间距 12
3.1.3 甲醇罐区布置 12
3.2 罐区防火提设计 13
3.2.1 防火堤的布置要求及有效容积的选取 13
3.2.2 防火堤的选材 14
3.3 总平面说明 15
第四章 甲醇罐区消防设计 16
4.1 固定式低倍数泡沫灭火系统的计算 16
4.2 喷淋水系统的计算 17
4.2.1 水量计算 17
4.2.2 喷淋系统布置 18
4.2.3 循环系统布置 18
第五章 甲醇罐区危险有害因素辨识及安全对策措施 20
5.1 甲醇罐区重大危险源辨识 20
5.2 甲醇的危险特性分析 20
5.3 安全对策措施 21
5.3.1 防泄漏措施 21
5.3.2 防火防爆措施 22
5.3.3 防毒措施 22
第六章 甲醇罐区的安全评价 24
6.1 事故树分析法 24
6.1.1 事故树编制 24
6.1.2 事故分析 24
6.1.3 结果分析与安全技术措施 26
6.2 道化学法 26
6.2.1 甲醇储罐区火灾,爆炸危险指数计算 26
6.2.2 火灾爆炸危险指数评价法分析结果 29
6.2.3 火灾爆炸危险主要控制措施 29
6.3 安全检查表 30
6.3.1 安全检查表的编制 30
参考文献 32
致谢 33
第一章 概述
1.1 甲醇的性质及用途
甲醇(CH3OH),常温下呈液态,无色,透明,易燃,易挥发,随着时代的进步与发展,甲醇在如今的生产生活中有着举足轻重的作用,甲醇是一种重要的有机化工原料,由于甲醇是最简单的饱和脂肪醇,其具有饱和脂肪醇的化学性质,可进行氧化,脱水,裂解等化学反应,具体理化性质见表1-1[1]。
表1-1 甲醇的理化特性
名称 | 木酒精 | 临界压力(MPa) | 7.95 |
分子量 | 32.04 | 闪点(℃) | 11 |
熔点(℃) | -97.8 | 引燃温度(℃) | 385 |
沸点(℃) | 64. 8 | 爆炸上限(v/v) | 44.0 |
相对密度(水=1) | 0. 79 | 爆炸下限(v/v) | 5.5 |
饱和蒸气压(kPa) | 13.33(21.2 ℃) | 临界压力(MPa) | 7. 95 |
燃烧热(kJ/mol) | 727.0 | 临界温度(℃) | 240 |
此外,甲醇具有毒性、易燃、易爆、易腐蚀等危险因素;而且反应条件为高温高压,具有反应工艺连续性强,操作比较严格等特点,因此在生产过程中要高度重视安全生产。工业介质易爆,必定易燃,因此防止着火更加重要。而且往往爆炸和着火同时发生,不论物理还是化学爆炸,定然随之发生大火。因此防爆大部分措施也适用于防火。
甲醇气味刺鼻难闻,且具有毒性,中毒后轻度会使人恶心,头晕,中度,腹痛,视力减退,重度则会使人四肢无力,嘴唇发紫,对视神经具有显著的危害甚至使人致盲。甲醇的蒸汽有一定的刺激作用,可发生湿疹,皮炎,上呼吸道炎,结膜炎等症状。
以上是毕业论文大纲或资料介绍,该课题完整毕业论文、开题报告、任务书、程序设计、图纸设计等资料请添加微信获取,微信号:bysjorg。
相关图片展示:







课题毕业论文、开题报告、任务书、外文翻译、程序设计、图纸设计等资料可联系客服协助查找。
