500m3丙烯储罐区安全设计毕业论文
2020-04-15 21:30:00
摘 要
丙烯储存作为化工生产中的一个重要环节,储罐的安全设计是不可忽视的。本文对500m3丙烯储罐区进行安全设计,丙烯的储存方式选择常温压力储存,储罐选用三带八支柱混合式结构,并确定了罐体的材料和尺寸,然后对储罐的相关附件进行设计,包括温度计、压力表、人孔及安全阀等;本文对罐区功能区域进行了划分,根据相关法规条例对罐区总平面进行了合理的布局,并对消防系统和防雷防静电系统进行了合理设计。本文对丙烯罐区存在的危险有害因素进行了辨识和分析,确定罐区可能出现包括火灾、容器爆炸、中毒窒息、车辆伤害和机械伤害等事故,并对罐区进行了重大危险源辨识,确定罐区为四级重大危险源;最后运用事故树法和道化学火灾爆炸指数评价法对罐区进行安全评价,并提出了相应的安全管理措施和制度,以确保罐区运转安全可靠。
关键词:丙烯 储罐 安全设计 消防 安全评价
Safety design of 500m3 propylene storage tank area
Abstract
Propylene storage is an important part in chemical production, and the safety design of storage tanks cannot be ignored. This paper is about the safety design for the 500m3 propylene storage tank area. Propylene is stored at normal temperature and pressure of 2.16MPa. The tank is made of three-band and eight-pillar mixed structure spherical tank, and the material and size of the tank are determined. Then the relevant accessories of the tank are designed, including thermometers, pressure gauges, manholes and safety valves; this paper divides the tank area according to the function, and makes a reasonable layout of the general plane of the tank area according to relevant laws and regulations, and the fire protection system and lightning protection anti-static system are reasonablely designed. This paper identifies and analyzes the dangerous and harmful factors in the propylene tank area, and determines that there may be some accident in the tank area such as fires and containers explosion, poisoning asphyxiation, vehicle injury and mechanical injury, and make an identification of major hazard sources , determining that the tank area is a four-level major hazard source; finally using the Fault Tree Analysis and Dow chemical Company, Fire and Explosion Index to evaluate the tank area safety, and proposing appropriate safety management measures and systems to ensure safe and reliable operation of the tank area.
Key words: Propylene; storage tank; safety design; fire; safety evaluation
目录
摘 要 I
Abstract II
第一章 前言 1
1.1 背景介绍 1
1.2 丙烯的理化性质及危险性 1
1.3 研究现状 2
第二章 丙烯储罐设计 3
2.1 储存方式及设计参数 3
2.1.1 储存方式 3
2.1.2 设计温度 3
2.1.3 设计压力 3
2.2 储罐的选型及参数 3
2.2.1 储罐的选型 3
2.2.2 罐体选材 4
2.2.3 储罐参数设计 4
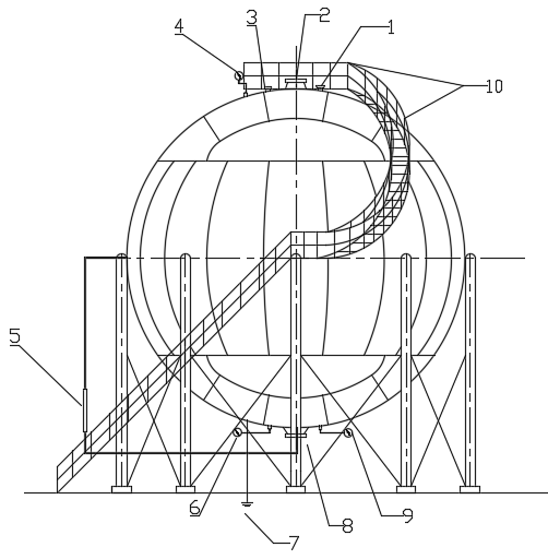
2.3 丙烯储罐附件 11
2.3.1 温度计 11
2.3.2 压力表 11
2.3.3 液位计 11
2.3.4 梯子平台 12
2.3.5 呼吸阀 12
2.3.6 阻火器 13
2.3.7 人孔 13
2.3.8 安全阀 13
第三章 储罐区总平面布置 15
3.1 储罐布置 15
3.2 办公区域 15
3.3 门卫 17
3.4 配电房 17
3.5 装卸区 17
3.6 液化烃泵房 17
3.7 污水处理场 17
3.8 储罐区道路 17
3.9 防火堤 18
3.9.1 设计原则 18
3.9.2 设计参数 18
第四章 罐区安全设计 20
4.1 消防设计 20
4.1.1 固定式水喷雾系统 20
4.1.2 消防水池与水泵 23
4.1.3 消防栓布置 24
4.1.4 灭火器设置 25
4.2 防雷防静电设计 25
4.2.1 罐区防雷设计 25
4.2.2 罐区防静电设计 26
第五章 危险有害因素辨识及分析 27
5.1 丙烯的危险性分析 27
5.2 丙烯储罐区的危险有害因素 27
5.3 丙烯储罐区重大危险源辨识 28
5.4 重大危险源分级 29
第六章 罐区安全评价 30
6.1事故树分析 30
6.2 道化学火灾爆炸指数评价法分析 32
6.2.1 分析与结果 33
6.2.2 结果分析 35
6.3安全管理措施与制度 35
6.3.1 安全管理措施 35
6.3.2 安全管理制度 36
第七章 结论与展望 37
7.1 主要结论 37
7.2 展望 38
参考文献 39
第一章 前言
1.1 背景介绍
丙烯作为一种工业原料,在化工企业中应用广泛。丙烯作为三大合成材料的基础原料,主要用于制取环氧丙烷、丙烯腈等,除此之外也可用于生产精细化学品,其自身亦可作为一种颜料。
化工企业中,丙烯一般储存在高压罐体中,一旦泄露到空气中,丙烯气体会迅速膨胀扩散,由于具有一定的毒性,丙烯会对人体产生较大影响,如遇到点火源,可能引发火灾爆炸事故,导致人员伤亡和财产损失。因此,对丙烯储罐区进行合理的安全设计和制定合理的安全管理措施和制度很有必要。
本设计为500m³丙烯储罐区设计,罐区含2个250m³的球形储罐,成对称分布。该储罐区坐落于南京市某化工厂,周边较空旷、无居民住宅区,该地区常年天气多变,少有积雪,季风气候,以东、南风为主导风向。
以上是毕业论文大纲或资料介绍,该课题完整毕业论文、开题报告、任务书、程序设计、图纸设计等资料请添加微信获取,微信号:bysjorg。
相关图片展示:







课题毕业论文、开题报告、任务书、外文翻译、程序设计、图纸设计等资料可联系客服协助查找。
