水库大坝安全监测系统设计毕业论文
2020-02-18 11:03:03
摘 要
当前我国拥有世界上最多的大坝,水利资源开发还在持续进行。拦河筑坝,兴修水库对国民经济,工农生产起着重要的作用,但是大坝的一旦失事所造成的后果也是极为严重的。大坝的安全监测系统的建立就是维护大坝安全稳定运行,让水利工程长期而又稳定的为社会建设添砖加瓦。
本文中设计的分布式安全监测系统,针对大坝运行存在的隐藏威胁进行数据监测,将大坝安全监测系统分为数据采集系统,数据远程传输系统,数据管理系统三个子系统,同时将分布式的数据采集方式与无线传感技术相结合,提高了系统的运行效率与信息准确度。根据大坝安全监测管理系统在的需求,设计实现对水位、降雨量、大坝状态等数据进行实时采集与统计,还具有极限报警功能。系统能自动统计生成水位、降雨量的时、日、月、年数据报表。
关键词:大坝安全监测系统;无线传感;分布式设计,数据管理
Abstract
China currently has the largest number of DAMS in the world .Development of water resources is continuing.Dam building has a positive impact on economic development,but the consequences of future dam break are serious.Dam safety monitoring system is established to maintain the stable operation of the dam. Keeping water conservancy projects running steadily.
The distributed safety monitoring system in this paper aims at data monitoring for potential threats in dam operation .The dam safety monitoring system is divided into three subsystems:data acquisition ,data remote transmission and data management,and the distributed collection method and wireless sensor technology are combined,it improves work efficiency and data accuracy.According to the requirement of dam safety monitoring and management system. Design and implement real-time collect and statistics of water level,rainfall,dam status and other data ,and there are alarms.The system automatically generates dates .
Key words:Dam safety monitoring;wireless sensing;Distributed design;data administration
目录
摘要 I
Abstract II
第1章 绪论 1
1.1 大坝安全监测系统研究意义 1
1.2 大坝安全监测系统的国内外现状与发展 1
1.21 大坝安全监测发展历程 1
1.22 国外安全监测系统发展与现状 2
1.23 国内安全监测系统发展与现状 2
1.3 本文研究内容与章节安排 3
1.31. 研究内容 3
1.32. 章节安排 3
第2章 大坝安全监测系统整体架构 4
2.1 大坝安全监测系统主要特点 4
2.2 大坝安全监测系统技术指标与需求 4
2.3 大坝安全监测系统构成 5
2.4 监测项目 5
2.5 本章小结 6
第3章 大坝安全监测信息采集系统 7
3.1 Zigbee无线传感网络 7
3.2 大坝安全监测系统监测仪器 8
3.3 大坝安全监测系统数据采集模块与Zigbee模块 9
3.4 本章小结 9
第4章 大坝安全监测远程数据传输 10
4.1 GPRS无线传感网络 10
4.2 GPRS传输网络 10
4.3 本章小结 11
第5章 大坝安全监测系统数据管理软件 12
5.1 数据管理软件的功能要求 12
5.2 数据管理软件设计 12
5.21 主页面 13
5.22 数据监测管理 13
5.23 离线分析 14
5.24 数据库管理 14
5.3 本章小结 15
第6章 大坝安全监测系统统计模型建立 16
6.1 多元线性回归模型 16
6.11 模型检验 17
第7章 总结与展望 18
7.1 总结 18
7.2 进一步研究展望 18
参考文献 18
致 谢 19
- 绪论
- 大坝安全监测系统研究意义
我国已拥有水库大坝9.8万余座,是世界上拥有水库大坝最多的国家,其中95%以上为土石坝,95%以上是上个世纪80年代以前建设的老坝。同时我国也是世界上拥有200米级以上高坝最多的国家,目前世界建成的200米级以上高坝77座,我国有20座,占26%;在建的200米级以上高坝19座,我国就有12座,占63%。这些大坝在促进国民经济发展,保障人民群众生活稳定上有着巨大的贡献。但由于各种不安全因素,每年都有不少大坝事故爆发,造成无法预估的损失。1975年的板桥水库垮坝事故,更是造成约2.6万余人死亡的重大事故。
大坝的安全管理是一个长期投入时间与人力资源,并对安全管理模式进行不断的改进。这些改进之中包括在测量设备技术,以及在监测设施中的程序更新换代与数据管理。建立一个以维护大坝安全的现代管理体系实时提供大坝各项数据,监测大坝运行情况,每天对大坝进行日常的报告。这一个安全管理的理念应该建立在物理与软件这两个技术体系的基础上。这里的物理基础涉是指提供大坝安全相关的数据和准确测量的物理量,这些物理量用对应的监测设备进行实时跟踪监测。今天的信息和电信基础设施水平使测量、获取和存档数据的先进系统得以实现。这些系统需要实现从自动收集采集的数据信息,再到对数据进行复查,最终进行安全存档,以一个高效和统一的方式提供给用户。并且通过长期对仪器监测产生可靠仪器数据库,从而更准确地评估大坝的安全性提供科学依据。
- 大坝安全监测系统的国内外现状与发展
- 大坝安全监测发展历程
大坝安全监测的发展可以分为以下三个阶段:第1阶段被称为原型观测阶段(1891-1964年)。这一阶段的大坝安全监测为对水工建筑物及其环境进行仪器量测和巡视检查(即原型观测),以了解和评价其实态。,在历届国际大坝会议的论文与议题中,均称为“观测”(Observation)。第2阶段为由原型观测向安全监测过渡阶段(1965年~ 1985年)。这一过渡的阶段正是不断发生的大坝事故使人们重视对于大坝安全管理,专业名词也逐渐过渡到“监测”(Monitoring),第3阶段为安全监测阶段(1985年至今)。这一阶段安全监测这一概念已经深入人心。近30多年来,由于安全监测要求的不断提高,自动化的安全检测技术也开始大量面世,特别是意大利较早开发了微机辅助监测系统(MAMS),可以进行对数据的自动采集,校验,储存和传输,同时也能进行快速的在线评估和技术报警等功能,在世界上处于领先地位。
同时安全监测是一个公共安全问题,所以各个国家也进行了相关法规的制定与颁发,以中国为例据不完全统计,自1980年至2008年,中国颁布的有关大坝安全监测的规程、规范及条例共67项,平均每年2项以上。图1.1列出了与安全监测关系比较密切的20项规范及条例

图1.1中国有关大坝安全监测的部分规范及条例
- 国外安全监测系统发展与现状
国外在60年代后期开始研制大坝安全监测自动化设备。日本首先在梓川水系采用了监测数据采集自动化。70年代后期意大利的水利工程师采用垂线仪在塔尔瓦雅曲拱坝上进行变形监测,后来在大坝上安装了了集中式数据采集系统,经过不断地改进,集中式的数据采集系统渐渐过渡到以分布式为主的混合式采集系统。美国则是在1981年采用集中式数据采集系统,1982年就开始安装分布式数据采集系统。1989年加拿大在大坝安全监测系统上实现了数据的自动采集,校验,储存,计算,分析,制作图表等功能。
1992年加拿大建成了Waleach大坝安全监测系统,将数据进行远程传输,开始尝试对大坝的远程监测。目前有代表性的国外产品有:意大利结构和模型实验研究所的GPDAS系统,美国Geomation公司的2300系统和Sinco公司的IDA系统。
- 国内安全监测系统发展与现状
中国大坝安全监测自动化起步时间与发达国家相比有一定的差距,但在1975-1986年间解决了差动电阻式仪器高精度远距离集中测量问题,在此期间分别在龚咀和葛洲坝大坝安装了集中式数据采集装置,分布式数据采集系统则是在1994年在葛洲坝泄水闸得以应用。目前,无线通信模块、分布式数据采集单元、防雷模块及智能分布式安全监测数采集系统、数据采集智能模块以及大坝安全信息管理网络系统软件,都有了长足的发展。国内产品主要是南京南瑞集团公司的DAMS 系统和南京水文自动化研究所的 DG 系统、北京木联能工程科技有限公司研制的 LN1018 -Ⅱ开放型分布式系统。
- 本文研究内容与章节安排
- 研究内容
本文对水库大坝安全远程监测系统进行研究,并收集资料设计水库大坝的安全监测系统。本文主要研究内容有:
(1)了解系统组成结构与原理,制定设计方案包括现场检测设备、远程监测设备、通信平台和监测中心设计。
- 结合信号需求 数据报表。
文末进行了总结与展望
- 章节安排
本文分四个章节对上述内容进行设计阐述与说明,各个章节内容安排如下:
第一章:对当前大坝安全监测系统的研究意义进行说明,同时介绍大坝安全监测系统的发展与现状。
第二章:分析大坝安全监测系统的特点与需求,并进行总体的设计
第三章:介绍具体的数据采集系统
第四章:介绍远程传输系统
第五章:建立多元线性回归统计模型
- 大坝安全监测系统整体架构
- 大坝安全监测系统主要特点
(1)大坝的安全监测系统的特点主要是测量点数过于庞大,单个大坝的不同坝段的测量位置的测量点数目不同,分布面较广,监测仪器种类多。
(2)检测系统同时还面临着工作环境对于测量仪器并不友好,如廓道潮湿且有大量的电子设备存在电磁干扰等问题。
(3)需要监测的项目多基础的大项就有:温度、湿度、应力应变、变形、水位、渗流,数据管理比较繁杂,资料处理与分析不易。
- 大坝安全监测系统技术指标与需求
大坝安全监测系统的技术指标主要参照中华人民共和国电力行业标准DL/T 5211-2005《大坝安全监测自动化技术规范》进行设计。
在安全监测系统的建设与运行上需要采取以下措施:
(1)选择可靠性高的传感器,因为传感器工作环境恶劣,外力影响因素大,安全监测系统的平稳有序运行需要可以长期可以正常完成工作任务的传感器;
(2)注意防雷措施,尽量为自动化系统提供较好的接地条件,同时在DAU(数据采集单元)与传感器间需要有效的防雷模块来避免由于单个传感器雷击导致整个DAU损坏;
(3)数据观测需要长期连续,同时统一集中管理分析,保证数据在系统中的基准值的一致性;
(4)需要设置UPS(不间断电源),在交流电源断电后UPS能维护系统正常运行至少30min;
在安全监测系统的数据管理软件上需要以下特点
(1)系统软件的可靠性与安全性,在设计上需要考虑系统各类异常状况;
(2)系统软件的兼容性与标准化,兼容性可以确保系统在具体对象上修改调试更为灵活,同时对数据管理的标准化是对高工作效率的保证;
由于大坝安全监测是一个涉及多方面的系统,功能需求上安全监测系统需要实现:
- 对数据的自动采集,复查,录入,储存,分析;
(2)接受人工数据录入
(3)拥有完整的传感器类型,以便数据更多样,有更多的参考价值;
(3)能实现数据采集节点的远程数据传输;
(4)数据站需要GPRS网络与监测中心进行数据交换;
(5)系统需要有自检功能
(6)系统自动报警功能
- 大坝安全监测系统构成
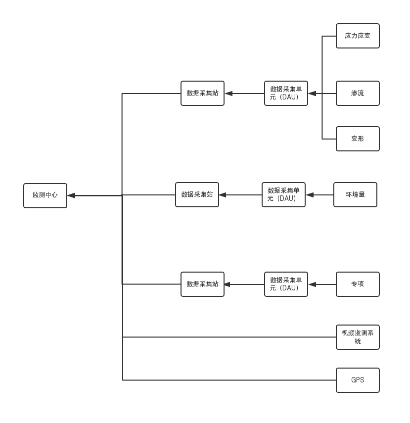
大坝安全监测系统由监测仪器,数据采集装置,采集计算机,监测管理中心设备四个主要部分,其子系统内容为数据采集系统,远程数据传输系统,数据处理系统。其中数据的采集由数据的采集装置完成,传感器作为设备终端完通过不同的形式成对外部信息的读取,通过双绞线,光纤等传输方式将数据传输至DAU,多个DAU利用Zigbee网络的簇-树型拓扑结构将数据传输至采集站内的采集计算机,采集计算机再通过GPRS传输至远端的监测管理中心。监测中心内部通过以太网将数据服务器,外设,管理计算机连接。设计中数据传输采用Zigbee与GPRS两种通信技术可以达成远近结合的效果,使系统效率更高。

图2.1监控中心内部

图2.2大坝安全监测系统简图
- 监测项目
大坝安全监测包括人工巡视检查和仪器监测,人工巡检可以及时发现一些仪器监测无法直观报告的异常情况。在仪器故障时,人工巡检要保持连续测值。
大坝安全监测系统按类别项目分为:应力应变、变形、渗流、压力、水利学、环境量等。
(1)变形监测:主要测量边坡变形,坝体裂缝开合度,坝体水平位移和垂直位移,混凝土面板变形,坝基水平位移和垂直位移。
(2)环境量监测:温度,湿度,廓道湿度,风速,水位,降雨量。
(3)温度监测:主要是坝体温度。
(4)压力监测:扬压力,土压力。
(5)应力应变监测:锚杆应力、钢筋应力、空隙压力。
(6)渗流监测:绕坝渗流、坝体渗流、渗流水质。
(7)水力学监测:主要包括泄水建筑物的泄水压强、泄水流速、流量及水面线观测。
- 本章小结
本章主要对大坝安全监测系统整体构架进行了简要阐述,介绍了大坝安全监测系统的技术指标,监测项目,功能需求,设备需求,软件需求。同时简要介绍了大坝安全监测系统构成。
- 大坝安全监测信息采集系统
大坝安全监测信息采集系统由不同坝段的数据采集节点构成,每个节点由数据采集仪搭载Zigbee无线模块,然后数据通过无线传输至采集计算机,其通常通过RS484接口进行连接。其优势主要体现在如下几个方面:
(1)分布式的布置,相较于有线方式连接,减少成本,没有了繁琐的线缆敷设。
(2)这样的一个信息采集节点可以安置在原离监测中心,或周围环境危险的地方。
(3)可以进行分布式处理数据,在一个节点实现多个数据融合后,降低了整体的数据流量。
(4)较于直接采用无线传感器,这样的组合可以搭载目前应用更为成熟的传感器,提高系统的可靠性。

图3.1信息采集系统
- Zigbee无线传感网络
Zigbee译名“紫峰”,是一种低速短距离传输的无线网上协议,底层是采用IEEE 802.15.4标准规范的媒体访问层与物理层。主要的特点有:
- 低功耗。在低耗电待机模式下耗电量仅为微安级别,即使到了 工作状态下它的耗电量也仅为几十毫安,对于电源要求低,很适用于恶劣环境长期工作;
- 低速率。ZigBee在2.4GHz提供250 kbps的原始数据吞吐率、915 MHz提供40kbps的原始数据吞吐率,868 MHz提供20kbps的原始数据吞吐率,从而zigbee成为低速率传输的选择之一;
- 近距离。相邻节点间传输范围一般介于10~100m之间,但是通过路由和节点间通信的接力,传输距离可以更远。
- 短时延。ZigBee的响应速度较快,传输延时的话大于20ms小于30ms
- 高容量。ZigBee可采用星状、片状和网状网络结构,单个主节点最多可以管理254个分节点,主节点之上还可以有层级,最多65000个节点
- 高安全。ZigBee提供了三级安全模式,包括安全设定、使用访问控制清单(Access Control List, ACL) 防止非法获取数据以及采用高级加密标准(AES 128)的对称密码,以灵活确定其安全属性
- 免执照频段。915MHz(美国), 868MHz(欧洲), 2. 4GHz(全球) ,使得工作频段选择灵活 。
它与蓝牙,Wi-Fi,IrDA(红外数据连接)都是现在常用的几种无线传输方式对比
表1.1 Blue Tooth、Wi-Fi、IrDA、Zigbee无线传输方式的主要性能
Blue Tooth | Wi-Fi | IrDA | Zigbee | ||
系统开销 | 较大 | 大 | 小 | 小 | |
电池寿命 | 较短 | 短 | 长 | 最长 | |
网络节点 | 7 | 30 | 2 | 255/65000 | |
物理范围 | 10m | 100m | 定向1m | 有效1-100m | |
传输率 | 1Mbps | 11Mbps | 16Mbps | 20/250kbps | |
传输介质 | 2.4GHz射频 | 2.4GHz射频 | 980nm红外 | 2.4GHz射频 | |
从表1.1中可以看出Zigbee除了在传输速率上低于Blue Tooth、Wi-Fi、IrDA,其它几个方面包括成本开销,电池寿命,网路节点容纳数目在这些短距离的无线通信技术中占有优势。大坝的安全监测在无线通信技术方面,正好需要的是周期长,数据量大,但是对传输速度要求不高。在Zigbee拥有大量节点以及低功耗的情况下,对大坝安全监测来说是一个很好的短程无线通信技术。
- 大坝安全监测系统监测仪器
大坝安全监测仪器,即传感器终端,在大坝安全监测中使用的传感器可按铺设类别分为埋入式和表面式传感器,按工作类别可分为振弦式、光纤光栅式、CCD光电式、电磁式等。
本次设计采用基康公司的工程类的传感器模块。现在介绍几种主要的传感器及参数
以上是毕业论文大纲或资料介绍,该课题完整毕业论文、开题报告、任务书、程序设计、图纸设计等资料请添加微信获取,微信号:bysjorg。
相关图片展示:





课题毕业论文、开题报告、任务书、外文翻译、程序设计、图纸设计等资料可联系客服协助查找。
